RT14系列圆筒形帽熔断器(以下简称熔断器),适用于交流50Hz,额定电压400V,额定电流至63A的配电装置中作为短路保护用。带有撞击器的熔断体式隔离器配合使用时,可作为电动机的缺相保护。
熔断器符合GB13539及其相关标准。


额定电压:400V 额定分断能力:100KA
额定频率:50Hz 功率因素cos:0.1~0.2
熔断体的分断范围与使用类别:gG
熔断器的约定时间和约定电流:符合标准要求

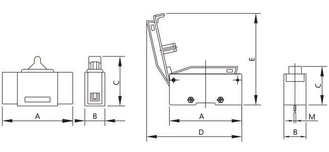
熔断体的外形与安装尺寸


熔断器支持件的外形与安装尺寸


1、熔断器主要由熔断体和底座组成,熔断体的触刀采用刀型插入式结构。
2、熔断器允许垂直、水平或倾斜安装、安装时应注意电气间隙不小于8mm,爬电距离不小于12mm。
3、熔断器联接导线的截面积应符合标准要求。
4、若熔断器的红色指示器凸出,表面熔断器已熔断,必须换上相同型号与参数的熔断体,切勿已铜丝代替。调换熔断体时请注意去除底座上的尘埃等污物。
5、若用户对产品有任何的疑问或好的建议请联系我公司
1、订购时请详细注明型号、规格等。
2、单独订购底座、熔断体或特殊规格时请详细说明或与我公司联系。
3、熔断器的保护特性曲线请参照熔断器标准GB13539.1、GB13539.2中的相关条款。